Шевроле Нива неоднократно подвергалась модернизации, в рамках которой было повышено удобство и комфорт вождения, однако нюансы с трансмиссией и двигателем не решены до сих пор. Около 99% бывших владельцев данного ТС остаются недовольны, тогда как хвалят авто только те, кто его недавно приобрел.
Исправить данную тенденцию помогает тщательное и регулярное обслуживание, которым нельзя пренебрегать с первых дней покупки. Чтобы выполнять ремонт Нива Шевроле своими руками как можно реже, сразу же после покупки подтяните все болты и смажьте дверные петли и замки, иначе вы столкнетесь с проблемами уже на первой тысяче км пробега. О чем еще должен знать водитель и каковы особенности ремонта данного ТС?
Ремонт и техническое обслуживание Шевроле Шевроле Нива. Chevrolet Chevrolet-Niva
Шевроле-Нива — элегантный внедорожник. Шевроле-Нива является базовой моделью нового семейства внедорожных автомобилей и первым плодом творчества совместного предприятия «General Motors — АвтоВАЗ».
На автомобиле Шевроле-Niva комфортно и удобно передвигаться по городским улицам, а на выходных ездить на дачу. Семья из трех человек спокойно может поехать в отпуск: места для вещей хватит. Полноприводная шевинива особо необходима там, где кончаются дороги и начинаются направления. Здесь автомобиль чувствует себя в своей тарелке.
По сравнению со своим предшественником ВАЗ-2123 в конструкцию внедорожника Шевроле-Нива внесены существенные изменения. Так, сохраняя все лучшие свойства ВАЗ-21213, автомобиль Шевроле-Нива имеет новый несущий кузов современной формы, постоянный привод всех колес, а так же ряд нововведений: редуктор переднего моста «отвязан» от двигателя; изменена конструкция привода коробки передач; удлинен промежуточный вал; передний и задний карданные валы унифицированы. В авто серьезно модернизирована система тормозов, в том числе, изменена конструкция главного цилиндра и усилителя тормозов. Шасси и трансмиссия старой «Нивы» конструктивно почти не изменились — применены модернизированные, проверенные жизнью агрегаты.
Шеви-Нива в базовой комплектации оснащается регулируемой рулевой колонкой, иммобилайзером и центральным замком, электростеклоподъемниками передних дверей, корректором фар и радиоподготовкой. Автомобиль оснащен инжекторным двигателем 1,7 л мощностью 80 л. с., системой электронного распределенного впрыска топлива и системой выпуска отработавших газов с каталитическим нейтрализатором, который соответствует требованиям норм токсичности «Евро-2» и «Евро-3».
За дополнительную плату можно получить литые диски вместо стальных, тонированные стекла, передние противотуманные фары, велюровый салон с обогреваемыми передними сиденьями, два динамика и антенну, подголовники заднего сиденья и запираемый пластиковый кожух запасного колеса.
Элегантность городского внедорожника Шеви-Нива подчеркивает окраска «металликом», крашенные в цвет кузова бампера. Цветовая гамма автомобиля представлена в семи цветах. Кузов Chevrolet Niva пятидверный с вклеивающимися стеклами, дверью багажника (с расположенной на ней запаской), открывающейся в сторону. Салон автомобиля довольно просторный и свободно вмещает пять человек, имеет складывающиеся по частям заднее сиденье.
Руководство по ремонту Chevrolet Niva / Шевроле Нива
- Руководства по ремонту
- Руководство по ремонту Шевроле Нива 2002+ г.в.
Общая информация об автомобиле.
Автомобили семейства Chevrolet Niva представляют собой дальнейшее развитие концепции отечественных комфортабельных внедорожников, начало которой положил автомобиль ВАЗ-2121 «Нива». Считается, что автомобиль менее подвержены ремонту, чем предыдущие модели. От предшественника они отличаются современным дизайном, повышенной комфортабельностью и более совершенной конструкцией.
ВАЗ-2123 (Chevrolet Niva) и его модификации – легковые автомобили повышенной проходимости с несущим кузовом типа универсал, выпускаемые предприятием СП «GM-AVTOVAZ». Количество дверей – пять, число мест – пять у модификаций L и GLS или четыре у модификаций LX и GLX. Двигатель расположен впереди продольно. Трансмиссия выполнена по схеме постоянного полного привода с блокировкой межосевого дифференциала и демультипликатором. Передняя подвеска независимая рычажно-пружинная, задняя – зависимая пружинная. Тормозные механизмы передних колес дисковые, задних – барабанные, на модификации LX и GLX устанавливают антиблокировочную систему (ABS). Рулевое управление с гидроусилителем фирмы ZF оснащено устройством регулировки положения рулевой колонки.
Автомобили Chevrolet Niva 2005 модельного года выпускаются в следующих комплектациях.
Модификация L – имеет регулируемую рулевую колонку, тканевую обивку салона, иммобилизатор, центральный замок, противотуманные фары в бампере, воздушный фильтр салона, электростеклоподъемники передних дверей, обогреваемые наружные зеркала с электроприводом, корректор света фар, радиоподготовку и резиновый коврик в нише радиоприемника, а также декоративный колпак на диск запасного колеса.
Модификация GLS – улучшенная версия модификации L. Она имеет велюровую обивку салона, подогрев передних сидений, тонированные стекла, радиоподготовку с антенной и двумя динамиками, литые пятилучевые диски колес и запираемый жесткий чехол запасного колеса. Модификация LX – оборудована подушкой безопасности водителя и ABS фирмы Bosch. Кроме того, у этой версии несколько изменена кинематика пружинно-рычажной подвески, в которой применены более жесткие пружины и амортизаторы, а общая высота посадки кузова уменьшена, что вкупе с применением более низкопрофильных 16-дюймовых колес улучшило управляемость на высоких скоростях. В трансмиссии для снижения высокочастотных вибраций применены облегченные карданные валы фирмы GKN с шарнирами равных угловых скоростей вместо карданных шарниров. Усилены тормоза: передние тормозные механизмы с вентилируемыми дисками, диаметр вакуумного усилителя увеличен до 10 дюймов.
Модификация GLX – представляет собой топ-версию, предназначенную в основном для поставки в страны дальнего зарубежья. Она, помимо перечисленного для модификации LX, дополнительно оборудована подушкой безопасности переднего пассажира, кондиционером Delphi и сиденьями Opel.
Ремонт Chevrolet Niva нечастое явление и его вполне можно осуществить своими руками, используя представленное на сайте руководство по ремонту. При необходимости вы можете скачать полное и подробное руководство по ремонту.
↓ Комментарии ↓
1. Устройство автомобиля
1.0 Устройство автомобиля 1.1 Общие сведения об автомобилях 1.2 Паспортные данные 1.3 Ключи автомобиля 1.4 Органы управления 1.5 Отопление и вентиляция салона 1.6 Двери 1.7 Ремни безопасности 1.8 Регулировка положения передних сидений 1.9 Регулировка положения рулевого колеса
2. Рекомендации по эксплуатации
2.0 Рекомендации по эксплуатации 2.1 Правила техники безопасности и рекомендации 2.2 Инструмент и принадлежности 2.3 Обкатка автомобиля 2.4 Эксплуатация автомобиля в гарантийный период 2.5 Проверка автомобиля перед выездом 2.6 Замена фильтра поступающего в салон воздуха 2.7 Пользование домкратом 2.8 Буксировка автомобиля
3. Неисправности в пути
3.0 Неисправности в пути 3.1 Двигатель не заводится 3.2 Неисправности системы впрыска топлива 3.3 Пропал холостой ход 3.4 Перебои в работе двигателя 3.5 Автомобиль движется рывками 3.6 Автомобиль плохо разгоняется 3.7 Двигатель заглох во время движения 3.8 Упало давление масла
4. Двигатель
4.0 Двигатель 4.1 Особенности конструкции 4.2 Полезные советы 4.3 Снятие и установка декоративного кожуха двигателя 4.4 Снятие и установка защиты масляного картера и брызговика двигателя 4.5 Замена охлаждающей жидкости 4.6 Замена масла в двигателе и масляного фильтра 4.7 Очистка системы вентиляции картера 4.8 Замена опор подвески силового агрегата 4.9 Установка поршня четвертого цилиндра в положение ВМТ такта сжатия
5. Трансмиссия
5.0 Трансмиссия 5.1 Сцепление 5.2 Возможные неисправности сцепления, их причины и способы устранения 5.3 Коробка передач 5.4 Возможные неисправности коробки передач, их причины и способы устранения 5.5 Раздаточная коробка 5.6 Возможные неисправности раздаточной коробки, их причины и способы устранения 5.7 Карданная передача 5.8 Возможные неисправности карданной передачи, их причины и способы устранения 5.9 Приводы передних колес
6. Ходовая часть
6.0 Ходовая часть 6.1 Передняя подвеска 6.2 Возможные неисправности передней подвески, их причины и способы устранения 6.3 Задняя подвеска 6.4 Возможные неисправности задней подвески, их причины и способы устранения 6.5 Амортизаторы
7. Рулевое управление
7.0 Рулевое управление 7.1 Особенности конструкции 7.2 Осмотр и проверка рулевого управления на автомобиле 7.3 Проверка натяжения и регулировка ремня привода насоса гидроусилителя 7.4 Замена жидкости в гидросистеме усилителя рулевого управления 7.5 Замена бачка гидросистемы усилителя рулевого управления 7.6 Прокачка системы гидроусилителя рулевого управления 7.7 Регулировка зазора в зацеплении ролика с червяком 7.8 Снятие и установка рулевого колеса 7.9 Замена валов рулевого управления
8. Тормозная система
8.0 Тормозная система 8.1 Особенности устройства 8.2 Полезные советы 8.3 Проверка и регулировка тормозной системы 8.4 Замена тормозной жидкости 8.5 Прокачка гидропривода тормозной системы 8.6 Главный тормозной цилиндр 8.7 Вакуумный усилитель тормозов 8.8 Регулятор давления 8.9 Замена шлангов и трубопроводов гидропривода тормозов
9. Электрооборудование
9.0 Электрооборудование 9.1 Особенности конструкции 9.2 Предохранители и реле 9.3 Генератор 9.4 Возможные неисправности генератора, их причины и способы устранения 9.5 Стартер 9.6 Возможные неисправности стартера, их причины и способы устранения 9.7 Выключатель (замок) зажигания 9.8 Замена и обслуживание свечей зажигания 9.9 Система управления двигателем
10. Кузов
10.0 Кузов 10.1 Особенности конструкции 10.2 Снятие и установка передних подкрылков 10.3 Снятие и установка передних крыльев 10.4 Снятие и установка декоративных накладок на передних крыльях и дверях 10.5 Замена буферов 10.6 Снятие и установка облицовки радиатора 10.7 Снятие и установка капота 10.8 Снятие, установка и регулировка замка и привода замка капота 10.9 Дверь задка
11. Варианты исполнения автомобиля
11.0 Варианты исполнения автомобиля 11.1 Главный цилиндр привода выключения сцепления 11.2 Рулевое управление с электромеханическим усилителем 11.3 Тормозная система
12. Уход за автомобилем
12.0 Уход за автомобилем 12.1 Проверка автомобиля перед выездом 12.2 Мойка автомобиля
13. Покупка запасных частей
13.0 Покупка запасных частей 13.1 Моторное масло 13.2 Пластичные смазки 13.3 Охлаждающие жидкости 13.4 Тормозная жидкость
14. Поездка на СТО
14.0 Поездка на СТО 14.1 Полезные советы
15. Зимняя эксплуатация автомобиля
15.0 Зимняя эксплуатация автомобиля 15.1 Как подготовить автомобиль к зиме 15.2 Рекомендации по пуску двигателя в сильный мороз 15.3 Что полезно купить к зиме 15.4 Полезные зимние советы
16. Подготовка к техосмотру
16.0 Подготовка к техосмотру 16.1 Рекомендации 16.2 Перечень неисправностей и условий, при которых апрещается эксплуатация транспортных средств 16.3 Изменения к государственным стандартам, регламентирующим предельно допустимое содержание вредных веществ в отработавших газах автотранспортных средств 16.4 Стандартная форма диагностической карты для пунктов инструментального контроля
17. Приложения
17.0 Приложения 17.1 Приложение 1. Моменты затяжки резьбовых соединений 17.2 Приложение 2. Основные данные для регулировок и контроля 17.3 Приложение 3. Горюче-смазочные материалы и эксплуатационные жидкости 17.4 Приложение 4. Заправочные объемы 17.5 Приложение 5. Лампы, применяемые на автомобиле 17.6 Приложение 6. 17.7 Приложение 7.
Ремонт и эксплуатация Нивы Шевроле: особенности
Статья о важных нюансах ремонта Нивы Шевроле: ремонт двигателя Нивы, обслуживание ходовой и трансмиссии, особенности кузова. В конце статьи — видео про ремонт мотора Niva Chevrolet.
Отечественные автопроизводители стараются идти в ногу со временем наравне с импортными поставщиками автомобилей, создавая усовершенствованные, современные продукты, способные конкурировать на рынке с западными представителями.
И если с легковыми автомобилями все получается не очень гладко, то во внедорожной сфере имеется один продукт, которым можно похвастаться, имя ему — Шевроле Нива.
Виды ремонтов
В зависимости от выявленных дефектов кузовной ремонт шевроле можно условно разделить на три вида:
Местный, небольшой ремонт:
- выправление незначительных вмятин;
- удаление царапин и сколов;
- восстановление поражённых коррозией деталей кузова.
Кузовной, сложный ремонт:
- восстановление геометрии и правка кузова;
- рихтование и замена деформированных элементов кузова;
- сварочные работы.
Покрасочные работы:
- шпаклёвка;
- грунтовка;
- покраска;
- полировка.
Окунемся в историю
Шевроле Нива была создана на базе классического советского внедорожника ВАЗ-2121 — единственного автомобиля, имеющего полный привод. Свое название машина получила в начале 2000-х, когда было создано совместное с General Motors предприятие, позволяющее устанавливать на продукты автопроизводства значок Шевроле.
С конца 90-х Нива 2121 постоянно подвергалась изменениям и модернизациям
. Автолюбитель хотел получить новый, современный внедорожник, красивый снаружи и надежный изнутри. Конструкторы планировали учесть все пожелания потребителей, продолжая реставрировать свое творение вплоть до 2009 года. Именно тогда была выпущена последняя, наиболее современная модель Шевроле Нива, которую можно сейчас встретить на отечественных дорогах в огромном количестве.
Любая машина отечественного производства имеет и поклонников, и ярых противников. Понять можно и тех, и других, ведь 90% запчастей в машине – российского производства. Сборка также осуществляется в нашей стране. Стало быть, на выходе можно получить как проблемное авто, так и продукт, который сможет удивительным образом проездить пять-шесть лет без единой поломки.
Особенности эксплуатации и ремонта двигателя
У силовой установки Шевроле Нива не много существенных отличий от карбюраторного мотора ВАЗ-2121. Да, теперь это инжекторный двигатель с гидрокомпенсаторным механизмом, однако большинство нюансов из того старого мотора перенеслось и сюда. Поэтому в силу простоты конструкции производить обслуживание и ремонт двигателя можно самостоятельно.
К примеру, масляный фильтр располагается сразу же возле блока, как и в старых моделях. Могут возникнуть проблемы с его монтажом, однако открутить его можно. Цена нового фильтра варьируется от 400 до 600 рублей. Всего потребуется около 4 литров масла. Чтобы открутить сливные пробки, потребуется шестигранный ключ. При этом высокая посадка позволяет получить доступ к пробкам без заезда на яму или поднятия автомобиля.
Какие сложности подстерегают владельца, если открыть капот? Прежде всего, отмечают проблему частого выхода из строя расширительного бачка. Это случается из-за:
- неудачной формы самого бачка, поскольку он выполнен в прямоугольной форме с большими поверхностями, которые не слишком хорошо переносят резкие перепады давления антифриза или другой охлаждающей жидкости;
- некачественной крышки расширительного бачка, поскольку ее клапаны также не переносят резких перепадов давления внутри системы охлаждения.
В первых совместных автомобилях наблюдались проблемы с гидрокоменсаторами моторов. Некоторые автовладельцы даже утверждали, что целесообразнее заменить их на самые обыкновенные регулировочные болты.
Особенности ремонта Шевроле Нива своими руками
Главное преимущество автомобиля – несложная конструкция основных узлов и агрегатов. Следовательно, серьезных трудностей в процессе самостоятельного ремонта быть не должно. Однако, как любое транспортное средство, Шевроле Нива имеет свою специфику. Что нужно знать в процессе ремонта базовых функциональных узлов внедорожника, рассмотрим более детально.
Двигатель
Силовой агрегат Нивы – практически аналоговая версия карбюраторного двигателя ВАЗ 2121. Несколько модернизированный инжекторный мотор, отличающийся простотой конструкции. Это позволяет проводить ряд ремонтных работ самостоятельно.
Удобно, что масляный фильтр расположен в привычном месте – рядом с блоком. Возможны некоторые трудности с его установкой, при этом снять устройство не составит труда. Самостоятельная замена фильтра обойдется не дороже 600 рублей. Необходимое количество масла – 4 литра. Для демонтажа сливных пробок необходим ключ-шестигранник. Достаточно высокая посадка облегчает доступ к пробкам – можно обойтись без заезда на яму.
Нюансы при обслуживании ходовой и трансмиссии
Поскольку Шевроле Нива обладает полным приводом, смышленые умельцы стараются сделать один из приводов отключаемым. Для этого устанавливается специальный блок отключения моста либо попросту откручивается задний или передний кардан.
Поэтому при осмотре поддержанного Шевроле уделите внимания вопросу подобной «модернизации» привода. И, если был получен положительный ответ, тщательно осмотрите опоры раздаточной коробки. Быть может, они давно уже изношены из-за частых вибраций.
Конечно, можно попробовать отремонтировать цилиндры, однако целесообразнее будет произвести их полную замену, ведь их стоимость колеблется в районе 500 рублей. Замена обойдется в 800-900 рублей.
Что касается недоработок ходовой части, к ним можно отнести подшипники ступицы.
Их замена может потребоваться спустя 30 000 километров. Впрочем, их износ напрямую зависит от качества вождения. Если эксплуатировать Ниву исключительно по бездорожью, выход из строя подшипников будет действительно частым. Ценник запчастей начинается с 500 рублей, а работ по замене – от 1 500.
Еще одной особенностью можно назвать специфическую защиту картера силовой установки.
Она располагается так, что сайлентблоки и рычаги подвески передних колес остаются без какой-либо защиты. И если вы съедете с дороги и наткнетесь рычагами на непроходимое препятствие – это обойдется примерно в 10 000 рублей: 5 тысяч – новая рулевая тяга и нижний рычаг подвести, и еще 5 – работы по замене и регулированию развала-схождения.
Если автомобиль не будет достаточно часто ездить, тормоза могут сгнить спустя 30 000 километров пробега. Замена тормозного диска обойдется в 800 рублей, а сам диск – в 2 200 рублей.
Сборку двигателя производите следующим образом.
Установите на стенд чистый блок и заверните в него отсутствующие шпильки.
Смажьте моторным маслом вкладыши подшипников и упорные полукольца коленчатого вала, а также поршни и сальники. При сборке двигателя после ремонта устанавливайте новые сальники коленчатого вала.
ПРЕДУПРЕЖДЕНИЕ. При установке переднего сальника коленчатого вала используйте специальную оправку (LTS.01.102).
При установке заднего сальника коленчатого вала используйте специальное приспособление (LTS.01.101).
Уложите в гнездо среднего подшипника и в его крышку вкладыши без канавки на внутренней поверхности. В остальные гнезда блока цилиндров уложите вкладыши с канавкой, а в соответствующие крышки — вкладыши без канавки.
Уложите в коренные подшипники коленчатый вал и вставьте в гнезда задней опоры два упорных полукольца (рис. 2-17).
Рис. 2-17. Установка упорных полуколец на задней опоре.
ПРЕДУПРЕЖДЕНИЕ. Полукольца должны быть обращены канавками в сторону упорных поверхностей коленчатого вала (со стороны канавок на поверхность полукольца нанесен антифрикционный слой).
С передней стороны задней опоры ставьте сталеалюминиевое полукольцо, а с задней стороны — металлокерамическое (желтого цвета).
Установите крышки коренных подшипников в соответствии с метками, которые нанесены на их наружной поверхности (рис. 2-18). Затяните болты крепления крышек.
Рис. 2-18. Метки на крышках коренных подшипников (счет опор ведется от передней части двигателя).
Проверьте осевой свободный ход коленчатого вала. Для этого установите индикатор на магнитной стойке и вставьте концы двух отверток, как показано на рис. 2-19. Перемещая вал отвертками, замерьте индикатором осевой свободный ход вала. Он должен быть в пределах 0,060,26 мм. Если свободный ход больше, то приведите его в норму, заменив старые полукольца новыми или установив полукольца увеличенной толщины.
Рис. 2-19. Проверка осевого свободного хода коленчатого вала.
Установите на фланец коленчатого вала прокладку держателя заднего сальника, а в гнезда держателя (рис. 2-20) вложите болты крепления передней крышки картера сцепления. Установите держатель с сальником на фланец коленчатого вала, прикрепите к блоку цилиндров.
Рис. 2-20. Держатель заднего сальника коленчатого вала. Стрелками показаны выступы для центрирования держателя относительно фланца коленчатого вала.
Установите по двум центрирующим втулкам (рис. 2-21) переднюю крышку 6 (см. рис. 2-11) картера сцепления. Прикрепите крышку гайками к держателю заднего сальника.
Рис. 2-21. Установочные штифты сцепления (черные стрелки) и центрирующие втулки картера сцепления (белые стрелки).
Установите маховик на коленчатый вал так, чтобы метка (конусообразная лунка) около обода находилась против оси шатунной шейки четвертого цилиндра, заблокируйте фиксатором A.60330/R маховик и прикрепите его болтами к фланцу коленчатого вала.
С помощью втулки для обжима поршневых колец вставьте в цилиндры поршни с шатунами (рис. 2-22).
Рис. 2-22. Установка поршня с поршневыми кольцами при помощи втулки для обжима колец и центрирующие втулки головки цилиндров (показаны стрелками).
ПРЕДУПРЕЖДЕНИЕ. Отверстие для пальца на поршне смещено от оси на 1,2 мм, поэтому при установке поршней в цилиндры стрелка на днище поршня должна быть обращена в сторону привода распределительного вала.
Установите вкладыши в шатуны и крышки шатунов. Установите шатуны и крышки на шейки коленчатого вала и затяните шатунные болты. Крышки шатунов необходимо устанавливать так, чтобы номер цилиндра на крышке находился против номера цилиндра на нижней головке шатуна.
Установите на коленчатый вал звездочку. Установите валик привода масляного насоса и закрепите упорным фланцем.
Установите в блок цилиндров две центрирующие втулки (см. рис. 2-22) и установите по ним прокладку головки цилиндров.
ПРЕДУПРЕЖДЕНИЕ. При сборке двигателя необходимо всегда устанавливать новую прокладку под головку цилиндров. Использование бывшей в употреблении прокладки не допускается.
Перед установкой прокладки необходимо удалить все масло с сопрягаемых поверхностей блока и головки цилиндров. Прокладка должна быть чистой и сухой. Попадание масла на поверхность прокладки не допускается. При попадании масла — обезжирить прокладку.
Поверните коленчатый вал так, чтобы поршни находились в средней части цилиндров.
Установите по двум центрирующим втулкам на блоке головку цилиндров в сборе с клапанами.
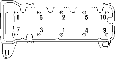
Рис. 2-23. Порядок затягивания болтов головки цилиндров.
Затяните болты крепления головки цилиндров в последовательности, указанной на рис. 223. Чтобы обеспечить надежное уплотнение и исключить подтяжку болтов при техническом обслуживании автомобиля, болты крепления головки цилиндров затягивайте в четыре приема:
1-й прием — затяните болты 1-10 моментом 20 Нм (2 кгсм);
2-й прием — затяните болты 1-10 моментом 69,4-85,7 Нм (7,1-8,7 кгсм), а болт 11 — моментом 31,36-39,1 Нм (3,2-3,99 кгсм);
3-й прием — доверните болты 1-10 на 90О;
4-й прием — снова доверните болты 1-10 на 90О
ПРЕДУПРЕЖДЕНИЕ. Болты крепления головки цилиндров допускается повторно применять только в том случае, если стержень болта вытянулся не более, чем до 117 мм. Если длина болта больше, то замените его новым.
Перед сборкой двигателя заблаговременно смажьте резьбу и головки болтов, окунув их в моторное масло. Затем дайте стечь излишкам масла, выдержав болты не менее 30 мин. Удалите масло из отверстий под болты в блоке цилиндров.
Поверните маховик в такое положение, чтобы метка на звездочке коленчатого вала совпала с меткой на блоке цилиндров (рис. 2-24).
Рис. 2-24. Проверка совпадения установочной метки на звездочке коленчатого вала с меткой на блоке цилиндров.
Проверьте, на месте ли установочные втулки корпуса подшипников распределительного вала (рис. 2-25). Установите звездочку на распределительный вал, собранный с корпусом подшипников, и поверните вал так, чтобы метка на звездочке находилась против метки на корпусе подшипников (рис. 2-26). Снимите звездочку и, не изменяя положения вала, установите корпус подшипников на головку цилиндров так, чтобы установочные втулки вошли в гнезда корпуса подшипников. Закрепите корпус подшипников, затягивая гайки в последовательности, указанной на рис. 2-27.
Рис. 2-25. Установочные втулки для корпуса подшипников распределительного вала.
Рис. 2-26. Проверка совпадения установочной метки на звездочке распределительного вала с меткой на корпусе подшипников:
1 — метка на звездочке; 2 — метка на корпусе подшипников.
Рис. 2-27. Порядок затягивания гаек корпуса подшипников распределительного вала.
Установите на головке цилиндров успокоитель цепи.
Установите цепь привода распределительного вала:
— наденьте цепь на звездочку распределительного вала и введите в полость привода, устанавливая звездочку так, чтобы метка на ней совпала с меткой на корпусе подшипников (см. рис. 2-26). Болт звездочки не затягивайте до упора;
— установите звездочку на валик привода масляного насоса, также не затягивая окончательно болт крепления;
— установите башмак натяжителя цепи и гидронатяжитель;
— установите трубку гидронатяжителя;
— проверьте совпадение меток на звездочках с метками на блоке цилиндров и на корпусе подшипников (см. рис. 2-24 и 2-26);
— если метки совпадают, то заблокировав маховик фиксатором A.60330/R (см. рис. 2-9), окончательно затяните болты звездочек, отогните стопорные шайбы болтов звездочек; если метки не совпадают, то повторите операцию по установке цепи.
Установите крышку привода распределительного вала (рис. 2-28) с прокладкой и сальником на блоке цилиндров, не затягивая окончательно болты и гайки крепления. Отцентрируйте положение крышки относительно конца коленчатого вала и затяните окончательно гайки и болты ее крепления.
Рис. 2-28. Крышка привода распределительного вала. Стрелками показаны выступы для центрирования крышки относительно ступицы шкива коленчатого вала.
Установите демпфер коленчатого вала и закрепите его гайкой.
Установите кронштейн насоса гидроусилителя с насосом в сборе.
Установите масляный фильтр с прокладкой, вручную привернув его к штуцеру на блоке цилиндров. Установите маслоотделитель вентиляции картера, крышку сапуна и закрепите фиксатор сливной трубки маслоотделителя.
Установите масляный насос 1 (рис. 2-29) и масляный картер с прокладкой.
Рис. 2-29. Установка масляного насоса:
1 — масляный насос; 2 — фиксатор сливной трубки; 3 — сливная трубка маслоотделителя.
Установите насос охлаждающей жидкости, кронштейн генератора и генератор. Установите ремень на шкивы и отрегулируйте его натяжение соблюдая рекомендации, изложенные в подразделе «Регулировка натяжения ремня привода вспомогательных агрегатов».
Установите на двигатель компрессор кондиционера и ремень его привода соблюдая рекомендации, изложенные в подразделе «Система кондиционирования воздуха».
Установите на головку цилиндров подводящую трубу радиатора отопителя и выпускной патрубок.
Установите на головку цилиндров выпускной коллектор 2 (рис. 2-9), экран 6 и впускную трубу 4 (рис. 2-8).
Установите на двигатель щиток стартера.
Установите датчики контрольных приборов.
Установите шестерню привода масляного насоса и фиксатор шестерни. Заверните свечи зажигания и затяните их динамометрическим ключом.
Установите крышку головки цилиндров с прокладкой, кронштейнами экрана двигателя и троса акселератора.
Установите катушку зажигания и датчик детонации.
Установите на впускную трубу топливную рампу и закрепите ее болтами 3 (см. рис.2-8). Подсоедините к форсункам жгут проводов. Перед установкой топливной рампы смажьте моторным маслом уплотнительные кольца форсунок.
Подсоедините трубку подвода топлива к рампе.
Установите на впускную трубу прокладку, ресивер 7 (см. рис.2-6), кронштейн экрана двигателя и заверните пять гаек.
Присоедините к ресиверу дроссельный патрубок с прокладкой.
Присоедините к дроссельному патрубку шланги подвода и отвода охлаждающей жидкости, шланг вентиляции картера.
Залейте моторное масло в двигатель через горловину на крышке головки цилиндров.
Обкатка двигателя после ремонта
Отремонтированный двигатель подвергается стендовым испытаниям (обкатке) без нагрузки по следующему циклу:
750-800 мин-1 …………….. 2 мин
1000 мин-1 ………………… 3 мин
1500 мин-1 …………………. 4 мин
2000 мин-1 …………………. 5 мин
Установив на стенде и запустив двигатель, проверьте следующее:
— нет ли течи охлаждающей жидкости или топлива между сопрягаемыми деталями, из соединений трубопроводов и через прокладки;
— давление масла и нет ли подтекания масла через прокладки;
— частоту вращения на холостом ходу;
— нет ли посторонних стуков.
Если обнаружатся посторонние стуки или неисправности, остановите двигатель, устраните их, а затем продолжите испытания.
При подтекании масла через прокладку между крышкой и головкой цилиндров или через прокладки между масляным картером двигателя, блоком цилиндров и крышками подтяните болты крепления рекомендуемым моментом. Если течь масла не прекращается, проверьте правильно ли установлены прокладки и при необходимости замените их.
Так как после ремонта двигатель еще не приработался и трение рабочих поверхностей новых деталей оказывает значительное сопротивление вращению, необходим определенный период приработки.
Указанное в особенности относится к тем двигателям, на которых были заменены поршни, вкладыши шатунных и коренных подшипников, перешлифованы шейки коленчатого вала, а также прохонингованы цилиндры.
Поэтому во время обкатки отремонтированного двигателя не подвергайте его максимальным нагрузкам. Обкатка двигателя должна продолжаться на автомобиле с соблюдением тех скоростей движения, которые рекомендуются для периода обкатки автомобиля.
Особенности кузова
Что касается кузова, здесь стоит уделить внимание порогам. Они очень быстро гниют под пластиковыми накладками, поэтому рекомендуется снять их и провести антикоррозионную обработку. Также следует обработать зону под дверными уплотнителями.
При эксплуатации Шевроле Нивы исключительно по бездорожью следует периодически следить за состоянием заднего бампера.
Выполнен он в форме «ковша», поэтому может загребать все, что попадется на пути.
Заключение
Основные преимущества Шевроле Нивы в сравнении с другими полноприводными внедорожниками:
- невысокая стоимость позволяет автомобилю конкурировать с другими моделями в вопросе цена-качество;
- обслуживание и ремонт можно выполнить самостоятельно при наличии желания и времени;
- не очень дорогое обслуживание в сервисных центрах, если вы не хотите что-то делать сами;
- нет никаких проблем с запчастями и информацией по ремонту тех или иных узлов Шевроле Нивы.
Внедорожник с полным приводом Шевроле Нива способен удивить своей проходимостью. Он сможет доехать туда, куда владелец кроссовера даже не рискнет повернуть. Конечно, машина не обладает астрономическими скоростными показателями, поскольку ее назначение совершенно в другом.
Особенности ремонта Шевроле Нива: 9 слабых мест отечественного внедорожника
Часто современные владельцы машин отечественного производства отдают предпочтение самостоятельному ремонту и обслуживанию, и Шевроле Нива не стала тому исключением. Чтобы ремонт Нива Шевроле своими руками прошел успешно, заранее изучите руководство и рекомендации относительно частоты обслуживания.
Шевроле Нива неоднократно подвергалась модернизации, в рамках которой было повышено удобство и комфорт вождения, однако нюансы с трансмиссией и двигателем не решены до сих пор. Около 99% бывших владельцев данного ТС остаются недовольны, тогда как хвалят авто только те, кто его недавно приобрел.
Исправить данную тенденцию помогает тщательное и регулярное обслуживание, которым нельзя пренебрегать с первых дней покупки. Чтобы выполнять ремонт Нива Шевроле своими руками как можно реже, сразу же после покупки подтяните все болты и смажьте дверные петли и замки, иначе вы столкнетесь с проблемами уже на первой тысяче км пробега. О чем еще должен знать водитель и каковы особенности ремонта данного ТС?
Что в итоге
Надо признать, что поддержание немолодой Шнивы в хорошей форме отнимает немало времени и денег. Даже несмотря на то, что многие ремонты я выполняю самостоятельно, один километр обходится более чем в пять с половиной рублей. Конечно, жизнь у нашей машины непростая, ведь ей часто приходится таскать нелегкий прицеп. Готов предположить, что при обычной более щадящей эксплуатации ее содержание обошлось бы на 10–15 процентов дешевле. То есть расходы на ремонт и запчасти составили бы 650–700 тысяч рублей. Все равно дороговато получается. Ведь сегодня даже за эти деньги можно купить новую машину.
Chevrolet Niva
- Изготовитель — GM-АВТОВАЗ, Россия
- Год выпуска — 2013
- В эксплуатации «За рулем» — с мая 2013 года
- Пробег на момент отчета — 145 000 км
Расходы на эксплуатацию и обслуживание (0 — 145 000 км)*
- Расходы на содержание 0–127 000 км — 677 884 ₽
- Из них на бензин (АИ-95, средний расход 10,5 л/100 км) — 516 144 ₽
- Расходы на содержание 127 000–145 000 км — 138 485 ₽
- Из них на бензин (АИ-95, средний расход 11 л/100 км) — 93 060 ₽
- ТО-135 + замена масла в агрегатах трансмиссии — 10 288 ₽
- Кулаки передних колес с необслуживаемыми подшипниками — 10 545 ₽
- Регулировка сход-развала — 3 515 ₽
- Электромотор отопителя и реостат — 1468 ₽
- Барабаны и колодки задних тормозов — 3410 ₽
- Комплект реактивных штанг задней подвески — 2909 ₽
- Лобовое стекло с электрообогревом — 8000 ₽
- Компоненты проводки электрообогреваемого стекла — 1840 ₽
- Радиатор отопителя и моторчик взамен бракованного — 2050 ₽
- Лампы противотуманных фар — 1400 ₽
- Общие расходы: 0 — 145 000 км — 816 369 ₽
- Стоимость 1 км пробега — 5,63 ₽
*Без учета расходов на полисы ОСАГО и каско.
- Вы можете по эксплуатации любого редакционного автомобиля в нашем разделе «Парк ЗР».
145 тыс. км с Chevrolet Niva: на ремонты ушло 200 тысяч!
Знакомство с авто
Нива относится к категории элегантных внедорожников, которые стали первым результатом сотрудничества Авто ВАЗ и General Motors. Передвижение по городской улице можно смело назвать удобным и комфортным, авто подходит для выезда на дачу по выходным, семейного путешествия компанией в три человека. В своей тарелке авто себя чувствует также там, где ровную дорогу сменяет агрессивный роуд офф. Среди особенностей Шеви Нива можно выделить следующее:
- новый современный несущий кузов;
- двигатель не связан с редуктором переднего моста;
- привод всех колес постоянный;
- унификация заднего и переднего карданных валов;
- удлинение промежуточного вала;
- модернизирована конструкция привода КП, а также тормозная система.
Слабые места
Заблаговременное знание о слабых местах ТС позволяет вовремя проводить ремонт Шевроле Нива и предотвращать кардинальные поломки. Рассмотрим их:
- Двигатель туповат на разгоне, на 30 тыс. км. пробега уже могут выйти из строя сальники. Гарантийная замена возможна только в том случае, если вылет масла будет очевиден. Если же сальники просто влажные, придется рассчитывать на свои силы. Мощность силового агрегата падает с активацией системы кондиционирования, что сразу бросается в глаза при движении по трассе. Слабую динамику и высокий расход горючего можно исправить перепрошивкой и сделать это лучше сразу. В среднем мотор выдерживает ресурс до 250 тыс. км.
- Ходовка слаба ступицами, реактивными тягами, элементами рулевой трапеции, а также сальниками и шаровыми опорами. Часто после 30 тыс. км. водители вынуждены менять передний ступичный подшипник. Ресурс заводских стоек также невелик.
- В плане системы охлаждения стоит уделить внимание необходимости замены бачка с антифризом примерно через год. С высокой долей вероятности за это время он уже будет протекать. Иногда помпа выходит из строя еще до первого техобслуживания.
- Трансмиссия грешит слабыми подшипниками и крестовинами на карданном валу. Непосредственно карданы тоже нельзя назвать сильным местом.
- Если рассматривать выхлопную систему, в среднем она служит безукоризненно около 55 тыс. км, однако стоит быть готовым к тому, что при использовании бензина низкого качества катализатор выйдет из строя уже через пару заправок.
- Кузов, особенно арочная зона колес, поддается коррозии. Ощутимые проблемы можно заметить уже на 3-4 год. Ржавчина проникает в царапину уже через несколько дней. Краска на пластиковых элементах долго не радует глаз.
- В плане электрики достаточно редко, но могут за первые полгода отказать стеклоподъемники. Такой же ресурс можно прогнозировать для стартера, ремня и генератора. Датчик уровня топлива может отображать неверные сведения, если позиция ТС уклонная. Также проблемы возникают с предохранителями проводки охладительных вентиляторов.
- Фары лучше сразу после покупки заменить светодиодными, иначе вскоре корпус будет расплавлен.
- В салоне практически полностью отсутствует шумоизоляция, особенно это ощущается при 100 км/ч. Также многих расстраивает затягивание в салон посторонних запахов.
Слабые места Нивы Шевроле
Знание основных проблем, которые могут возникнуть в процессе эксплуатации модели, поможет предотвратить серьезные поломки и сэкономит средства на капитальный ремонт. Чаще всего владельцам приходится сталкиваться со следующими трудностями:
- Сальники – их износ возможен уже на пробеге в 30 000 км. Воспользоваться услугой гарантийной замены можно только в случае полного вылета масла. При влажных сальниках – придется все делать самому. Как только мощность мотора начнет снижаться, это будет видно при скоростном пробеге по трассе. Решить проблему можно перепрошивкой, причем, чем быстрее, тем лучше.
- Ступицы ходовой, комплектующие рулевой трапеции, слабые реактивные тяги, некачественные сальники и шаровые – их ресурс невелик. Замена требуется после 30-35 тысяч пробега.
- Система охлаждения – средний срок службы бачка – 1 год. Как показывает практика, течь он начинает задолго до заявленного срока.
- Трансмиссия –минус – ненадежные подшипники и крестовина карданного вала. Да и качество самого кардана оставляет желать лучшего.
- Система выхлопа — при заливе хорошего бензина нареканий не будет. В противном случае менять механизм придется через несколько заправок. Разработчик дает гарантию на эксплуатацию выхлопной системы 55 000 км пробега.
- Кузов – восприимчивость отдельных его фрагментов к коррозиям. Если не принять меры, и не обработать опасные места, серьезные проблемы возникают уже спустя 2-3 года после приобретения машины.
- Электрика – сроки эксплуатации ремня генератора, стартера, подъемников стекол – около полугода. Датчик может грешить неверными показаниями на фоне уклонного движения транспортного средства.
- Фары – если не хотите, чтобы они расплавили корпус, специалисты советуют сразу при покупке заменить их на светодиоды.
- Слабая шумоизоляция внутри салона – доставляет дискомфорт на высоких скоростях. Кроме этого ряд пользователей указывают на присутствие постороннего запаха в салоне, особенно в первые месяцы после покупки.
Периодичность обслуживания
Проводить ремонт и обслуживание Нива Шевроле своими руками стоит с учетом следующих временных периодов:
- Еженедельно проверяйте уровень масла в блоке мотора, воды в омывателе, а также тормозной и охлаждающей жидкости. Также стоит обращать внимание на оптику, шины и АКБ. При нерегулярном использовании авто периодичность таких проверок составляет 400 км.
- Каждые 8 тыс. км меняйте масляный фильтр и масло, что продлит ресурс силового агрегата.
- Каждые 15 тыс. км проверяйте остаточную толщину передних тормозных колодок. Воздушный фильтр системы вентиляции также нельзя оставлять без внимания.
- В ежегодном порядке проверяйте состояние КПП, омывателей и электросистем, подвески, тормозов и рулевого управления. Также смазывайте все движущиеся детали дверных карт и багажника. Если внедорожник дизельный, важно отслеживать количество оборотов коленвала на холостом ходу. Целостность подкапотных элементов, шлангов и соединений тоже должна быть под контролем.
- Каждые 30 тыс. км обязательной замене подлежит воздушный фильтр. Не забывайте проверять, насколько хорошо натянуты приводные ремни. Замене также подлежат топливные фильтры или свечи зажигания в зависимости от типа используемого горючего. Ремонт подвески на данном временном этапе не исключен.
- Каждые 60 тыс. км меняйте лямбда зонды и масло в КПП. Не исключен ремонт кузовных элементов. Даже малейшие царапины игнорировать нельзя, поскольку коррозия воздействует на данное авто предельно агрессивно. Печка на данном этапе тоже может дать слабину, исправить поломку вы сможете и самостоятельно. Даже если вы собственноручно обслуживаете и ремонтируете свою машину, все равно периодически обращайтесь к услугам СТО, где проведут необходимые замеры уровня вредных выбросов.
Периодичность проведения ТО и обслуживание
Производителем заявлены следующие сроки проведения ТО и обслуживания модели:
- проверять уровень масла, охлаждающей и тормозной жидкости – раз в неделю;
- менять фильтры и заливать новое масло – на каждые 8 000 км;
- контролировать толщину тормозных колодок – на 15 000 пробега;
- проверять состояние КПП, электрики, подвесок, тормозной системы – не реже одного раза в год. Если машина на ДТ – контролировать число оборотов коленвала на холостых;
- менять воздушный, топливный фильтр и свечи – каждые 30 тысяч км.
Особенности ремонта
Ремонт основных функциональных узлов рассматриваемого внедорожника имеет следующие особенности.
Двигатель
Поскольку авто специфичное, а конструкция не сложная, сюрпризы в плане ремонта не будут вас подстерегать.
Замена воздушного фильтра и масла предельно проста. Что касается масляного фильтра, он имеет боковое расположение относительно блока, поэтому подобраться к нему непросто. Запаситесь маслом в количестве 3,75 литра и шестигранником. Даже в подъемнике или яме нет никакой необходимости, поскольку клиренс достаточно высокий. В поднятии авто есть смысл только при наличии серьезной защиты картера.
Лопнувший расширительный бачок также может стать проблемой, а происходит это из-за его неудачной формы. Нестабильное качество крышки также усугубляет ситуацию.
В целом компоновка для самостоятельной реализации ремонтных и обслуживающих работ под капотом достаточно удобная. Единственная сложность может заключаться в снятии стартера, тогда как доливание жидкости, замена воздушного фильтра или ламп вовсе не создадут проблем.
Трансмиссия и ходовка
При покупке Нивы не первой свежести обратите внимание на наличие повышенных вибраций, если предыдущий владелец имел привычку ездить без одного кардана. Опоры раздаточной коробки в таком случае могут быть непригодны. В целом статистика поломок КПП достаточно скудная, что говорит о приличной надежности данного узла, зато относительно сцепления подобного не скажешь. Замене подлежат все цилиндры, и рабочий, и главный. Примечательно, что лучше именно менять механизм полностью, нежели идти на поводу у зеленой жабы и покупать ремкомплект.
Что касается замены масла в редукторах и коробках, оно должно быть единым — 75w-90, а объемы следующие:
- 1,3 л для заднего моста;
- 1,15 л для редуктора переднего;
- 0,79 л для раздаточной коробки;
- 1,6 л для КПП.

Любить по-русски: ремонт и обслуживание Chevrolet Niva
Владелец нашей сегодняшней Нивы при выборе автомобиля колебался между Renault Sandero Stepway и Chevrolet Niva. Во время тест-драйва в автосалоне у Нивы не открывался багажник, передачи переключались с трудом, а при попытке экстренно затормозить автомобиль заглох, и никто его не мог завести в течение нескольких минут. И всё-таки выбор был сделан в пользу Нивы. Почему? Тут я вам ничего не отвечу, даже владелец этой Нивы внятно ответить не смог. Нравится, и всё тут! Бывает же такое, правда?
Чуть-чуть истории
Chevrolet Niva была логическим продолжением классической Нивы ВАЗ-2121. В своё время этот автомобиль можно было бы назвать одной из самых успешных советских машин. Истории её возникновения посвящено множество материалов разной степени качества и объективности, поэтому позвольте сегодня пропустить историю создания Нивы. Перейдём сразу к той, что Шевроле.
ВАЗ-2121 был хорош всем, но особенно – за чертой города. Пришло время, и ездить на старой Ниве по мегаполису было уже просто неловко, тем более что в потоке автомобилей всё чаще стали проскакивать разнообразные Сузуки Витары и прочие Тойоты РАВ4. Вид иностранных представителей тогда ещё нового класса SUV вызывал приступы позеленения кожных покровов нивоводов, и в конце концов стало ясно, что Ниву придётся модернизировать. Это сейчас, когда кроссоверы превратились в хэтчбеки с пластмассовыми накладками на порогах, народ понял, что зря не любил «честные» внедорожники, а тогда все было иначе…
В 1998 году, когда с момента производства ВАЗ-2121 прошло чуть больше 20 лет, конструкторы АВТОВАЗа явили миру ВАЗ-2123. Тогда ещё слова «Шевроле» в названии не было, машину именовали Niva II. Внутри более-менее современного на вид кузова скрывалась всё та же старая Нива, правда, с существенными переделками, особенно в трансмиссии. В это тяжелое для страны в общем и для АВТОВАЗа в частности время наладить выпуск нового автомобиля не удалось. С 1998 по 2002 годы ВАЗ-2123 собирали только мелкосерийно на опытно-промышленном производстве. Скорее всего, бог бы миловал, но в 2002 году удалось договориться с General Motors, было создано совместное предприятие GM-АвтоВАЗ, в результате чего на облицовке Нивы появился значок Шевроле, а Niva стала товарным знаком совместного производства. Классическая Нива с тех пор выпускалась под названием Lada 4×4. В 2009 году Шевроле Нива пережила первый и последний рестайлинг, хотя кардинально она не изменилась. Более важен тот факт, что во время выпуска авто с 2002 года многие узлы периодически менялись, отчего машина постепенно становилась всё лучше и лучше. Чуть позже мы посмотрим, что можно было купить в 2012 году, а пока отметим вот что. Как и у любого автомобиля, у Шеви-Нивы есть как ярые сторонники, так и ненавистники. И объясняется это, прежде всего, нестабильностью качества. Отечественных комплектующих в машине – почти 95%, сборка тоже местная, и несмотря на покровительство GM, в рамках одной и той же партии попадались как вполне беспроблемные машины, так и буквально разваливающиеся на ходу. Особенно – в первые годы производства. Хотя в Интернете гуляет байка о Ниве, которая ездила и вообще не ломалась в течение четырех лет. За правдивость ручаться сложно, но вероятность такого развития событий существует.
Так или иначе, Шевроле Нива завоевала свою долю потребительской любви. Ещё бы: купить за её стоимость что-то более проходимое импортное было нельзя, а какой-никакой уровень комфорта всё же присутствует. В ходе рестайлинга 2009 года даже удалось нарисовать вполне симпатичный салон.
Двигатель
Силовой агрегат Шевроле Нивы берёт начало от старого доброго карбюраторного мотора 21213 первых Нив. Конечно, с течением времени многое изменилось, но глядя на двигатель сегодняшней Chevrolet Niva трудно не вспомнить его почтенного прародителя. Современный мотор ВАЗ-2123 – инжекторный, а другое новшество мотора – гидрокомпенсаторный механизм.
В силу специфичности автомобиля его обслуживанием владельцы довольно часто занимаются сами – конструкция не самая сложная, и тем, кто знаком с отечественной техникой, никаких сюрпризов она не преподнесёт. Поэтому не будем подробно описывать, например, процедуру замены масла или воздушного фильтра – всё просто и понятно.
Масляный фильтр традиционно расположен сбоку блока, доступ к нему не самый удобный, но выкрутить можно. Его стоимость – от 400 до 600 рублей. Масла понадобится 3,75 литра. Для откручивания сливных пробок потребуется шестигранник, саму пробку придётся поискать, но стандартный пыльник позволяет открутить её без снятия самого пыльника. Неудобно, но можно. Благодаря высокому клиренсу можно даже обойтись без ямы или подъёмника, тем более, что пробка находится спереди двигателя. Если же на машине установлена более серьёзная защита картера, то всё же лучше автомобиль поднять.
Уж коли открыт капот, посмотрим, что тут может ещё преподнести сюрпризы. Многие владельцы Шевроле Нивы сталкиваются с проблемой лопнувшего расширительного бачка. Происходит это по двум причинам. Во-первых, сама форма бачка не слишком удачная: он прямоугольный с боковыми поверхностями довольно большой площади, которые не любят перепадов давления охлаждающей жидкости. Вторая причина кроется в нестабильном качестве крышки бачка, клапаны которой не всегда адекватно реагируют на перепады давления в системе охлаждения. Если вдруг машина начинает «кипеть» или на втором бачке подряд появляется трещина – стоит обратить внимание на пробку.
Есть проблема и похуже пробки бачка – это гидравлический натяжитель цепи ГРМ. Он и сам по себе не всегда справляется с работой, но ещё и имеет иногда желание вообще перестать работать из-за лопнувшей трубки подвода масла. Первым признаком неудовлетворительной работы гидронатяжителя станет металлический лязгающий звук. На моторах после 2008 года механизм чуть изменили, увеличили диаметр масляной трубки. Однако полностью проблема не ушла, поэтому многие предпочитают поменять гидронатяжитель на механический. Здесь уже стоит натяжитель ISAI, который не требует регулировки по мере растяжения цепи (во всяком случае, так убеждает производитель устройства). Стоит такая вещь всего 1 000 рублей, но, по мнению многих владельцев Нив, значительно повышает надёжность цепного привода. Сама же цепь способна до замены прослужить около 100 000 километров. Гидрокомпенсаторы моторов первых Нив вызывали желание поменять их на обычные регулировочные болты. Сейчас с гидрокомпенсаторами ситуация значительно улучшилась, хотя встречающийся на многих экземплярах шум в ГБЦ при холодном пуске двигателя большинство нивоводов считают нормой. Перед заменой ремня генератора нужно определить, каким способом регулируется его натяжение. У части машин оно настраивается путём смещения генератора (как на «классике»), у более поздних машин появился натяжной ролик (генератор в последнем случае расположен сверху, слева от двигателя). В общем и целом под капотом отметим достаточно удобную компоновку для проведения мелкого ремонта и обслуживания. Заменить лампы в фарах, воздушный фильтр (понадобится лишь крестовая отвёртка), долить жидкости – всё это просто. Хотя, например, со снятием стартера придётся помучиться.
Трансмиссия и ходовая часть
Чего у Нивы не отнять – это честного полного привода. Периодически у некоторых товарищей появляется желание сделать полный привод отключаемым, и тогда предел вмешательства в конструкцию ограничен только ленью и фантазией. Чаще всего просто снимают один из карданов (преимущественно – передний), особо трудолюбивые владельцы ставят блоки отключения моста. Думается, что все эти действия – от лукавого, но знать о том, что такие «тюнингованные» машины в природе встречаются, обязательно. Если вдруг появится желание купить подержанную Шевроле Ниву, спросите, не злоупотреблял ли предыдущий владелец поездками без одного кардана. Если да – проверьте автомобиль на предмет повышенных вибраций вследствие, например, «смерти» опор раздаточной коробки. Собрать говорящую статистику поломок КПП и «раздатки» не удалось, что косвенно говорит об их неплохой надёжности, зато достаточно часто возникают претензии к приводу сцепления. Он тут гидравлический, и менять приходится как главный, так и рабочий цилиндры сцепления. Периодически жаба наседает на владельца Нивы всей своей неподъёмной тушей, и он занимается ремонтом цилиндров, благо ремкомплекты купить можно. По большому счёту, всё это – пережиток «старины глубокой», когда мы ещё и тормозные накладки клепали для барабанных механизмов. Сейчас целесообразнее заменить эти механизмы целиком, благо стоят они по сегодняшним деньгам копейки: от 400 до 600 рублей. Замена в сервисе каждого из цилиндров обойдётся рублей в 800, но каждый, кто помнит, как прокачать сцепление, сможет выполнить эту работу и самостоятельно. Впрочем, кто помнит, тот обязательно возьмёт себе помощника: крутить штуцеры и одновременно давить на педаль не удавалось еще никому.
В трансмиссии есть одно существенное отличие между машинами до 2010 года выпуска и более поздними. После 2010 года устанавливались новые валы с шарнирами равных угловых скоростей. Как следствие – появление пыльников, за состоянием которых придётся внимательно следить. К чести ранней конструкции отметим более простое снятие и установку кардана: всего лишь отвернуть по четыре болта с каждой стороны. Для снятия вала со ШРУСами понадобится вывешивать «раздатку». Само собой, для замены пыльника повозиться с «раздаткой» тоже придётся, причём сам пыльник будет стоить рублей 200-300, а цена замены окажется гораздо выше и будет сильно зависеть от моральных качеств мастеров СТО. При замене масла в коробках и редукторах допустимо использовать одно трансмиссионное масло 75w-90. В КПП войдёт 1,6 литра, в раздаточную коробку – 0,79 литра, в редуктор переднего моста – 1,15 литра, заднего – 1,3 литра. Слабое место ходовой части – ступичные подшипники. Пробег нашей машины – всего 34 тысячи, а их уже меняли. Стоимость подшипников начинается от 400 рублей, средняя стоимость замены – 1 500. Ну, а в остальном… Тут ещё раз напомним: Нива – внедорожник, поэтому её подвески обычно не берегут. И ресурс ходовой части будет сильно зависеть от того, где и как эта машина обычно ездит. Есть смысл обратить внимание на следующую деталь.
1 / 2
2 / 2
Стандартная защита картера ДВС устанавливается таким образом, что рычаги и сайлентблоки передней подвески остаются ничем не закрытыми. Если на обычном автомобиле это не так страшно, то для внедорожника этот факт может стать поводом для печали и серьёзного ремонта ходовой после неудачных «внедорожных испытаний».
Если съехать с дороги со словами «пацаны, смотрите, как я могу!» и упереться рычагом в первый же пенёк или камешек, то расценки на ремонт будут приблизительно следующие. Нижний рычаг – 3 900 рублей, рулевая тяга – 800, замена рычага – 1 600, замена тяги – 700, установка углов развала и схождения – 2 000 рублей. Переходим к рубрике «курьезы». Пробег, как я уже говорил, небольшой – 34 тысячи. Возраст – четыре года. Знаете, что у машины за это время сгнило? Тормозные диски. Они проржавели так, что их пришлось менять. Диск обойдётся в 2 200 рублей, его замена – в 800. Будем считать, что коррозия появилась исключительно от малого пробега, ведь машина должна не стоять, а ездить. И желательно – побольше.
Кузов и салон
Сначала мы как обычно сядем в машину и посмотрим, как она ездит. И тут же понимаем, что персонаж из мультика и игр, изображённый на боксе запасного колеса, тут как нельзя кстати. Для тех, кто не знает, поясним: его зовут Слоупок, и он известен благодаря своей медлительности.
Владелец Нивы, обладающий хорошим чувством юмора и умением трезво оценивать возможности своего автомобиля, картинку подобрал очень точно. Действительно, 80 лошадиных сил – это очень и очень мало, особенно для автомобиля, полноприводная трансмиссия которого способна «сожрать» приличное количество «лошадок» и так не слишком мощного двигателя. Но с другой стороны, Шевроле Нива сконструирована не для того, чтобы выигрывать гонки. Её задача – проехать там, куда другие не доедут. И с ней она справляется, даже в стоковом состоянии. Конечно, по трассе на ней лучше ехать не больше ста километров в час, и то, наслаждаясь вибрациями и гулом трансмиссии. В городе она любит кушать бензин литрами, но всё это – плата за постоянный полный привод. Зато салон Нивы 2012 года выглядит вполне прилично. Небольшие новшества (рулевое колесо, плафон подсветки и прочие мелочи) делают интерьер гораздо более приятным по сравнению с дорестайлинговыми машинами. Есть, конечно, куда хотелось бы приложить руки: например, рычаги раздатки и коробки передач тут так и остались выдернутыми из смелых фантазий Элтона Джона, а приборка от «пятнашки» сейчас уже выглядит полным анахронизмом.
Но в целом салон отторжения не вызывает. Особенно если помнить о стоимости этого автомобиля, ибо даже на фоне роста цен Нива остаётся самым доступным внедорожником. Одним словом, ругать интерьер не будем: простенько, но не шумно, не отталкивающе, с покушением на моду. Лучше перейдём к делу: что надо знать о кузове и салоне Шевроле Нивы.
1 / 5
2 / 5
3 / 5
4 / 5
5 / 5
У Нивы почти сразу начинают гнить пороги под пластиковыми накладками, и наиболее заботливые владельцы снимают эти накладки, чтобы применить превентивные меры сразу после покупки. Другое проблемное место – под уплотнителями дверей, где тоже достаточно часто появляются «рыжики». К сожалению, ЛКП Нивы нельзя назвать качественным. За ним – только глаз да глаз. Любителям покататься по ямам, кочкам и грязи придётся внимательно следить за задним бампером: изнутри он сделан так «удачно», что напоминает по форме ковш. А ковш, как известно, как нельзя лучше подходит для того, чтобы черпать всё, за что зацепится.
Что в итоге?
Идеальных автомобилей не существует. Тем более – специализированных, к которым можно отнести и Шевроле Ниву. На трассе на ней достаточно тяжело совершить обгон, в городе будет огорчать расход бензина. Зато можно ездить там, куда многие кроссоверы даже не сунутся. И в этом преимущество такого автомобиля. Кому-то, может, не понравится, что машина потребует повышенного внимания к некоторым местам и агрегатам. Но ведь и стоит она не как Кадиллак Эскалейд, а её обслуживание и ремонт, возможно, и будут слишком частыми, зато не очень накладными. А ещё может повезти, и ваша Нива ломаться не будет. Помните, мы говорили, что такие экземпляры тоже существуют?
Откровенно архаичная конструкция имеет и свои преимущества. Во-первых, многое можно сделать самому. Во-вторых, в сервисах обычно не наглеют с расценками. В-третьих, запчастей везде навалом. В-четвёртых, о ремонте Нивы своими силами известно уже всё или почти всё. Правда, придётся смириться с хронически текущей пробкой маслозаливной горловины типично «жигулёвского мотора», с ржавеющим «железом» или внезапным отказом чего попало. Но для езды по бездорожью ничего более нового и современного пока не придумали.
За помощь при подготовке материала выражаем благодарность ИП Буторину (авто, СПб, ул. Фучика, д. 17, бокс №1)




